行車滑觸線作為電纜替代產品,其應用利于越來越廣泛,各行業(yè)對于對于滑觸線的認知度也越來越高。為讓更多的客戶認識到滑觸線工作原理,本文就此介紹滑觸線應用案例。
本文以單極安全滑觸線為例介紹?;|線主要結構由滑觸線、集電器、滑觸線附件構成;主要適用溫度在:零下30度到85度之間;額定電壓范圍在:200A到2000A之間;其主要應用在汽車制造、冶金、倉儲、石油化工、紡織、輕工、造船、起重、港口、電廠、游樂場所、自動化生產線等廣泛領域。
應用滑觸線也有一些要求:1、移動設備行駛速度不能超過3m/min;2、室內環(huán)境不能過于潮濕;3、滑觸線安裝距離要大于半米;4、弧形滑觸線半徑要大于1.5米;
案例介紹:
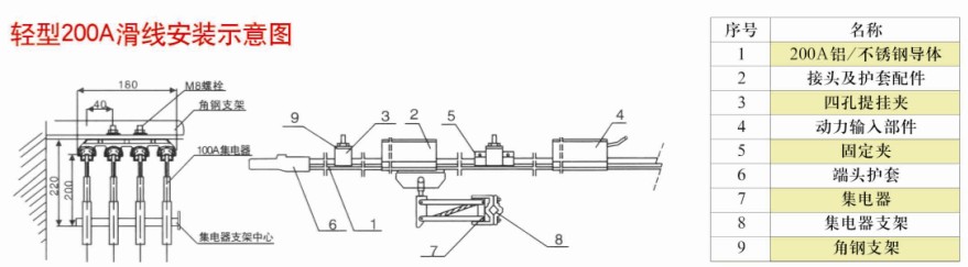
安裝如下圖:

車間內有移動小車、地面附有移動導軌、并在室內墻體有可供角鋼支架焊接或固定的位置;
1、根據小車運行所需總功率,算出所需滑觸線電流,選擇好滑觸線,推薦選擇DMHX德瑪滑觸線,質量好,安全才能有保障;
2、將角鋼支架焊接或固定在室內墻體指定位置,將螺絲固定牢固,安裝好角鋼支架后,要效驗各角鋼支架是否平行;
3、安裝提掛架,將提掛架固定在角鋼支架上,并將滑觸線固定在提掛架上,將鋁接頭、接頭護套、固定架、動力輸入等附件依次安裝好。
4、將集電器支架焊接在小車指定位置,并將集電器穿入集電器支架,之前需要先把小車電源線接入到集電器銅塊中。
5、接通電源,通電測試;檢測小車運行是否正常;
以上內容是行車滑觸線應用案例簡單介紹,中間有描述不清,或不正確的請各同行多多指正。